ESS4I3三相电流变送器使用说明书
免责声明:本网页内容来自源于网络共享,若无意中侵犯了您的知识产权或版权,我们深表歉意,烦请联系我们,我们将在规定时间内给予删除等相关处理。另外,此内容仅供浏览和参考之用,真实性请自行辨别,我公司不承担任何责任!
如需PDF格式版本,请调出打印窗口,在选项中选择“另存为PDF”!
一、产品简介
ESS4I3三相电流变送器通过专用电量芯片采样,MCU数字化处理,真有效值算法,高精度的测量三相电流(可选第4路电流测量,用来测量中线电流或漏电流)隔离转换成线性直流标准模拟信号输出或RS485数字通信接口输出。模拟量可选:DC0~20mA、DC4~20mA、DC0~5V、DC0~10V等变送输出;RS-485数字通讯接口,采用国际标准Modbus-rtu通讯协议,可与各种PLC、HMI、组态软件实现组网。
二、主要技术指标

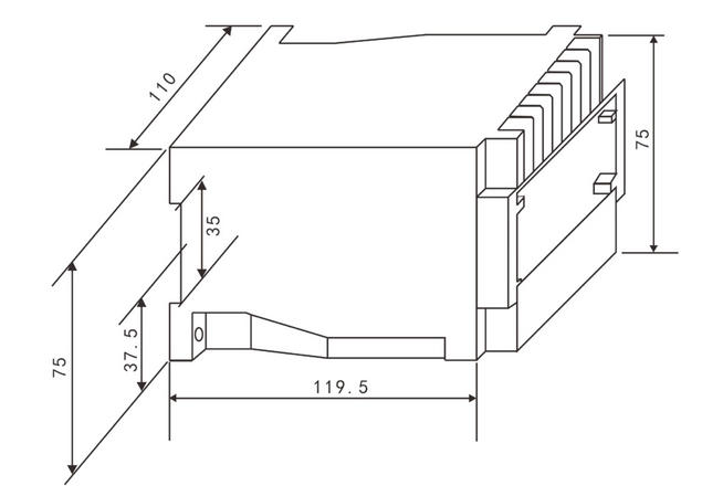
三、外形尺寸

四、功能模块
4.1 模拟量变送输出
模拟量变送输出可选:DC0~20mA、DC4~20mA、DC0~5V、DC0~10V等。模拟量变送输出与输入信号隔离,成线性对应关系,每路测量电压对应一路模拟量变送输出,广泛用于PLC、DCS等数据采集。精度0.5%;电流输出时,负载电阻<500Ω、电压输出时,负载电阻>100KΩ。
4.2 RS485通讯
4.2.1 通信协议
(1) RS485通讯接口,异步半双工模式。
(2) 通讯波特率2400、4800、9600、19200bps 可设置,出厂默认值为9600 bps。
(3) 数据格式:N81无校验位、8个数据位、1个停止位; O81奇校验、8个数据位、1个停止位;E81偶校验、8个数据位、1个停止位;N82无校验位、8个数据位、2个停止位。
国际标准Modbus-rtu协议,仪表地址:1~247可设;本机目前支持03H、04H读命令,03H、04H读命令功能相同,10H写寄存器命令。通信参数通过上位机软件设置或显示面板设置。
报文格式说明:
命令04H(或03H):读命令
主机请求: 地址 + 命令 + 数据地址 + 数据长度 + CRC校验码
1byte + 1byte + 2byte + 2byte + 2byte
地址:为所要查询仪表地址码,可以在 1~247内设置,占用 1个字节
命令:04H或03H读命令,长度为 1个字节
数据地址:欲读取的数据起始地址,占用 2个字节
数据长度:欲读取的数据字长度
CRC16校验码:低8位在前,高8位在后,占用2个字节
从机响应: 地址 + 命令 + 数据长度 + 数据信息 + CRC校验码
1byte + 1byte + 1byte + nbyte + 2byte
地址:为响应仪表地址码,长度为 1个字节
命令:04H或03H ,长度为 1个字节
数据长度:将要发送的数据字节长度
数据信息:读取的数据,具体见仪表参数地址表
CRC16校验码:占用2个字节,低8位在前,高8位在后
4.2.2 Modbus通信寄存器地址表

说明:
(1) 属性中,R为只读,W为只写,W/R可读可写。
(2) 电压二次侧值=读出值/10,一次侧值=读出值×Pt变比/10。单位为V。
(3)
float浮点数采用IEEE754格式,符号位1位(S),指数位8位(E),尾数位23位(F),S EEEEEEEE
FFFFFFFFFFFFFFFFFFFFFFF(31->0)。符号位:正数为0,负数为1;指位数偏移127;尾数表示小数加1。其表示为((-1)^S)
* 2^(E-127) * (1+F/0x7fffff)。高位在前。
(4) 寄存器地址0,1,2,2048~2049,2050~2051,2052~2053三相四相接线方式,读出的为相电压,三相三线接线方式,读出来的线电压。
(5) 寄存器地址3,4,5,2054~2055,2056~2057,2058~2059仅三相四相接线方式,读出的数据有意义。
4.3 显示模块

A、B、C三相LED指示灯,仅A指示灯亮,代表当前电压为A相电压;当A,B二指示灯同时亮,代表AB相线电压。220.0为显示的电压值,单位为V,显示值为二次侧电压值。通过“▼”键切换显示的相。
五、编程操作
5.1按键定义
功能键SET:用于进入菜单项,选择设置项。
移位键◄:循环选定页面内的数码管,选定的数码管呈闪烁状态。
增加键▲:加闪烁位数码管的数值(数字在0~9之间循环)。
5.2 编程操作中按键的使用
按“SET”键进入参数设置页面,按“▲”进入参数值修改,通过“◄”和“▲”来实现更改参数,用“SET”键确认并进入下一项参数设置。
5.3 设置参数说明
5.3.1 参数设置流程图

5.3.1 仪表运行参数设置(长按“SET”键3秒进入)

六、接线图
说明:如与产品实物接线图不一致,请以产品实物接线图为准。

七、产品实物图片


