TC-RS485-1-V1信号隔离器使用说明书
免责声明:本网页内容来自源于网络共享,若无意中侵犯了您的知识产权或版权,我们深表歉意,烦请联系我们,我们将在规定时间内给予删除等相关处理。另外,此内容仅供浏览和参考之用,真实性请自行辨别,我公司不承担任何责任!
如需PDF格式版本,请调出打印窗口,在选项中选择“另存为PDF”!
感谢您选择我司通讯隔离器产品,为了方便您选购和安全、正确、高效的使用本产品,请仔细阅读本说明书并在使用时务必注意以下几点:
注意:
1. 该装置必须有专业人员进行安装与检修;
2. 在对该装置进行任何外问接线操作前、必须切断输入信号和电源;
3. 使用合适的电压检测装置来确定该装置各部有无电压;
4. 提供给该装置的参数需在额定范围内;
5. 给装置上电时确认电源是否符合该装置的工作电压范围;
6. 检修时请确认电闸已经拉下,并确认无电;


■概述
RS- 485分路器,将工业现场RS-485信号隔离、放大、转换为多路RS-485信号。该产品需要独立供电;采用DIN35mm标准导轨独立式安装方式(可选总线供电功能) 输入、输出隔离。
■主要技术参数
| 输入端 | 输出端 | |
| 通道数 | 1 | 1 |
| 信号类型 | RS-485数字信号 | RS-485数字信号 |
| 信号电平规则 | 标准RS - 485差分电平 | 标准RS - 485差分电平 |
| 传输延时 | ≤10μs | ≤10μs |
| 波特率 | 300~230400 bps(自适应) | 300~230400 bps(自适应) |
| 传输控制方式 | 半双工(收发自动切换) | 半双工(收发自动切换) |
| 通信距离 | 1200m(TYP) | 1200m(TYP) |
基本参数
电源 : DC24V,电压范围: DC9~30V
消耗电流:≤50mA
绝缘强度: 1500V AC/1min(输入、输出之间)
绝缘电阻:≥100MΩ(输入、输出之间)
工作温度范围: -20~+55*C
电磁兼容性:符合GB/T 18268.1(1EC61326-1)
适用现场设备:带有RS-485接口的设备
■使用环境
(1)本设备防护等级为IP20安装时需注意环境条件(防水以及小的异物),适于在控制室或高密仪表机柜内安装使用,周围环境中不得有强烈振动、冲击以及大电流和火花等电磁感应影响,使用环境中不得有对金属、塑料件起严重腐蚀作用的有害物质。应不含有易燃、易爆的物质。
(2)本设备适用于IEC/EN 60664-1所确定的2级污染等级,皿类过电压等级环境。如需在更高的污染等级区域使用,需对本设备增加相应的保护。
(3)储存温度: -40C ~+ 80°C
(4)相对湿度: 10%~90%R H
■应用

■指示灯示意图

■外形尺寸
外形尺寸(深x高x宽) 115mmx 106.5mmx12.5mm

■安装
RS-485分路器均采用DIN35mm导轨安装方式。导轨应符合标准号为: GB/T19334- 2003的国家标准中TH35-7.5型导轨的尺寸规范。该标准等同于国际电工委员会|EC6071 5-1 981的国际标准。安装必须稳定牢固。建议使用导轨堵头防止仪表安装在导轨上滑动和安装不稳。
安装步骤如下:
| (1)把仪表上端卡在导轨上; (2)把仪表下端推进导轨。 |
|
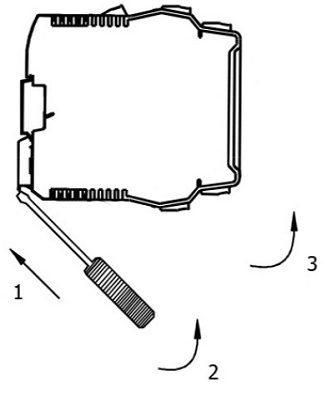
■拆卸
| (1) 用螺丝刀(刀口宽度≤6mm)插入仪表下端的金属卡锁; (2) 螺丝刀向上推,把金属卡锁向下撬; (3)仪表向上拉出导轨。 |
|
■接线
(1)接线电缆采用截面为0.5~ 2.5 mm2的单芯或多芯电缆,剥去电缆防护层的线芯长度约为6~8mm。
(2)端子接线由M3螺丝紧固。
(3)请参照端子接线图进行连接。

■维护
(1) RS-485分路器进行通电调试前,必须再次检查输入与输出的接线以及电源和信号的极性是否正确。
(2)严禁用兆欧表测试分路器端子之间的绝缘性。若要检查系统线路绝缘性时,应先断开全部信号隔离器的接线,否则会引起内部器件的损坏;
(3)产品在出厂前均经过严格检验和质量控制,如发现工作不正常,怀疑内部模块有故障,请及时同附近的代理商或直接与本公司技术支持热线联系;




